Форум о микрофонах Октава
Текущее время: 19 апр 2026, 19:52

Часовой пояс: UTC + 3 часа [ Летнее время ]




Начать новую тему Ответить на тему  [ Сообщений: 16 ]  На страницу 1, 2  След.
Автор Сообщение
 Заголовок сообщения: Нужна схема октава 105
СообщениеДобавлено: 20 дек 2010, 19:18 
Новичок

Зарегистрирован:
20 дек 2010, 19:14
Сообщения: 3
Благодарил (а): 0 раз.
Поблагодарили: 0 раз.
Нужна схема распайки микрофона мк - 105 оторвались проводки внутри микрофона, нужно припоять вот ток не знаю куда. помогите со схемой распайки


Вернуться к началу
 Профиль  
Ответить с цитатой  
 Заголовок сообщения: Re: Нужна схема октава 105
СообщениеДобавлено: 20 дек 2010, 22:32 
Мастер

Зарегистрирован:
29 сен 2010, 17:56
Сообщения: 373
Благодарил (а): 0 раз.
Поблагодарили: 25 раз.
МК-105
Вложение:
Oktava_MK-105.gif
Oktava_MK-105.gif [ 34.1 КБ | Просмотров: 24594 ]



За это сообщение автора burd-ig поблагодарил: KN67rx
Вернуться к началу
 Профиль  
Ответить с цитатой  
 Заголовок сообщения: Re: Нужна схема октава 105
СообщениеДобавлено: 21 дек 2010, 09:23 
Новичок

Зарегистрирован:
20 дек 2010, 19:14
Сообщения: 3
Благодарил (а): 0 раз.
Поблагодарили: 0 раз.
cпасибо за оперативность, а пожете по подробнее указать куда поять?


Вернуться к началу
 Профиль  
Ответить с цитатой  
 Заголовок сообщения: Re: Нужна схема октава 105
СообщениеДобавлено: 21 дек 2010, 20:19 
Мастер

Зарегистрирован:
29 сен 2010, 17:56
Сообщения: 373
Благодарил (а): 0 раз.
Поблагодарили: 25 раз.
Если будет фото, разберемся быстро, тем более что схема до боли знакомая (почти МК-012)!


Вернуться к началу
 Профиль  
Ответить с цитатой  
 Заголовок сообщения: Re: Нужна схема октава 105
СообщениеДобавлено: 21 дек 2010, 21:52 
Мастер
Аватара пользователя

Зарегистрирован:
24 фев 2009, 06:41
Сообщения: 120
Откуда: Кривой Рог, Украина
Благодарил (а): 20 раз.
Поблагодарили: 63 раз.
killenyboy писал(а):
cпасибо за оперативность, а пожете по подробнее указать куда поять?

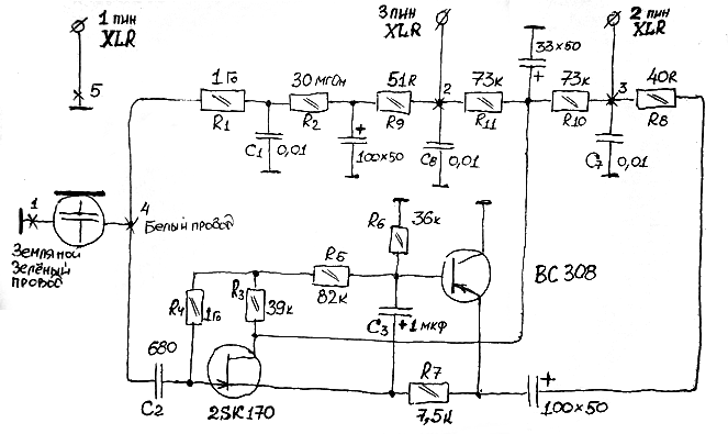
Обратите внимание на нарисованной выше схеме "Октава МК-105" обозначены крестиками места запайки проводов и все они обозначены на плате циферками без впереди стоящей буквы, как в случае с резисторами R1, R2, R3...или конденсаторами С1, С2, С3....Так же каждое место пайки провода окантовывается нарисованным белой красочкой квадратиком. Обратите внимание на фото: синяя стрелка указывает на место пайки №2, а красная на место пайки №5. Не попутайте места пайки проводов капсюля - во фторопластовой изоляции (белого цвета скользкий как мыло провод) паяется на точку №4, а провод в ПВХ изоляции зеленого цвета к месту №1 - земле. В вашем микрофоне провод может быть не зеленого цвета, а другого, и если даже "Октава" заменила этот провод на фторопластовый, то смотрите он должен на капсюле быть припаян к лепестку, который прикручен болтиком прямо к металлу капсюля спереди внизу (может и сбоку или сзади). Тоесть "земля" капсюля припаивается к "земле" платы.

Изображение

Изображение


Последний раз редактировалось KN67rx 07 мар 2011, 11:42, всего редактировалось 12 раз(а).


За это сообщение автора KN67rx поблагодарили - 2: danila-master, show_master
Вернуться к началу
 Профиль  
Ответить с цитатой  
 Заголовок сообщения: Re: Нужна схема октава 105
СообщениеДобавлено: 21 дек 2010, 23:34 
Мастер

Зарегистрирован:
29 сен 2010, 17:56
Сообщения: 373
Благодарил (а): 0 раз.
Поблагодарили: 25 раз.
По моему коментарии тут излишни.
5 на плате - XLR №2
2 на плате - XLR №3
1 на плате - капсюль зеленый провод (земля)
4 на плате - капсюль белый провод
Не вижу есть ли еще контакт 3 для пайки земли XLR №1. Его тоже можно припаять к 1 на плате (может он соединен с корпусом, нужно смотреть)

Цитата:
Пользуясь случаем, если ваш мик выдает излишние низы, то по одной из многих переделок замените электролит 100*50(на выходе биполярного транзистора) на конденсатор меньшей емкости и желательно не поскупитесь и поставте Jensen и желательно неполярный электролит. Звук на децилу станет открытей, мягче, детальней и с более артикулированным басом и уверенной атакой....повторяю на децилу.


Американцы меняют кондеры на танталовые.
Вложение:
pic_5_with_labels.jpg
pic_5_with_labels.jpg [ 40.52 КБ | Просмотров: 24542 ]

Это МК-012


Вернуться к началу
 Профиль  
Ответить с цитатой  
 Заголовок сообщения: Re: Нужна схема октава 105
СообщениеДобавлено: 22 дек 2010, 17:42 
Новичок

Зарегистрирован:
20 дек 2010, 19:14
Сообщения: 3
Благодарил (а): 0 раз.
Поблагодарили: 0 раз.
спасибо большое, очень всё помогло


Вернуться к началу
 Профиль  
Ответить с цитатой  
 Заголовок сообщения: Re: Нужна схема октава 105
СообщениеДобавлено: 22 дек 2010, 19:05 
Мастер
Аватара пользователя

Зарегистрирован:
24 фев 2009, 06:41
Сообщения: 120
Откуда: Кривой Рог, Украина
Благодарил (а): 20 раз.
Поблагодарили: 63 раз.
burd-ig писал(а):
Не вижу есть ли еще контакт 3 для пайки земли XLR №1. Его тоже можно припаять к 1 на плате (может он соединен с корпусом, нужно смотреть)



По моему контакт осуществляется через обмедненный участок печатной платы дорожкой соединенный с массой, он контактирует и зажимается болтиком фиксирующим плату к корпусу микрофона.

И так в добавок за вышенарисовваную схему. Я в ней не указал номера конденсаторов боьшой емкости так как на плате номеров не было. Думал она под ними...отпаял, но нет...пусто, художник забыл. Ради точности эксперимента, не смотря на то что можно было считать по полоскам номиналы резисторов, они были выпаяны и промеряны. Сопротивления были не те что указаны на рисунке, были отклонения порой до килоома. Указаны номиналы были к ближайшим стандартным номиналам.

Изображение



За это сообщение автора KN67rx поблагодарил: show_master
Вернуться к началу
 Профиль  
Ответить с цитатой  
 Заголовок сообщения: Re: Нужна схема октава 105
СообщениеДобавлено: 22 дек 2010, 23:37 
Мастер
Аватара пользователя

Зарегистрирован:
21 сен 2006, 21:35
Сообщения: 2976
Откуда: Украина, Харьков
Благодарил (а): 2 раз.
Поблагодарили: 178 раз.
KN67rx писал(а):
Сопротивления были не те что указаны на рисунке, были отклонения порой до килоома.

А в подобных вещах допускается отклонение до 25% от номинала. Так что, нужно смотреть относительно номинала элемента, и ничего криминального в этих отклонениях нет.

_________________
This is Derezay station, if you need to get out - get out!



За это сообщение автора Артем Vасилич поблагодарил: KN67rx
Вернуться к началу
 Профиль  
Ответить с цитатой  
 Заголовок сообщения: Re: Нужна схема октава 105
СообщениеДобавлено: 28 фев 2011, 03:30 
Новичок

Зарегистрирован:
28 фев 2011, 02:00
Сообщения: 3
Благодарил (а): 1 раз.
Поблагодарили: 0 раз.
Мало что понимаю в проводах (ПВХ или фторопласт...), поэтому прошу "натыкать пальцем". Пожалуйста! :oops:

Проблема: оторвались провода.
Нужно их вернуть на место.
Хочу полнейшей однозначности и для этого выкладываю фото.


ВОПРОСЫ:

1. куда припаять провод А, а куда провод Б?
2. можно ли удлинить оба эти провода и не повлияет ли это на работу микрофона? (какие провода использовать для удлинения и имеет ли это значение?)

БОЛЬШОЕ СПАСИБО.


Вложения:
Комментарий к файлу: Что есть ПВХ, а что фторопласт и в чём разница?
провода 1_.jpg
провода 1_.jpg [ 189.69 КБ | Просмотров: 24374 ]
Комментарий к файлу: куда какой припаять?
куда паять_.jpg
куда паять_.jpg [ 156.96 КБ | Просмотров: 24374 ]
Комментарий к файлу: в описании выше от XLR к плате (вроде бы...) совсем другой порядок или я что-то путаю?
XLR+плата_.jpg
XLR+плата_.jpg [ 183.96 КБ | Просмотров: 24374 ]
Вернуться к началу
 Профиль  
Ответить с цитатой  
 Заголовок сообщения: Re: Нужна схема октава 105
СообщениеДобавлено: 28 фев 2011, 10:15 
Мастер
Аватара пользователя

Зарегистрирован:
24 фев 2009, 06:41
Сообщения: 120
Откуда: Кривой Рог, Украина
Благодарил (а): 20 раз.
Поблагодарили: 63 раз.
danila-master писал(а):
ВОПРОСЫ:

1. куда припаять провод А, а куда провод Б?
2. можно ли удлинить оба эти провода и не повлияет ли это на работу микрофона? (какие провода использовать для удлинения и имеет ли это значение?)

БОЛЬШОЕ СПАСИБО.


Пощупайте провода...тот что скользкий - это фторопластовая изоляция, тот что мене скользкий ПВХ. Хотя может Октава ставит оба провода в фторопластовой изоляции. ПВХ должен ити на землю капсюля, а фторопласт на центральный лепесток мембраны. На фото провод потоньше похож на фторопластовый. А чтоб было все же не на авось, а точно, посмотрите куда именно на мембрану идет каждый провод....так вот повторяю....тот провод, который отходит от центрального лепестка мембраны паяется на точку №4 , а провод прикрученный к металличекой(земляной) части мембраны паяется на точку №1.

Провода можете удлиннить, если по другому запаять не можете. И не забудте заизолировать места пайки двух проводов, напимер кусочком хлорки или термоусадочной трубочкой. Удлинение влияет на звук в очень мизерной степени....думаю ушами это услышать трудно.



За это сообщение автора KN67rx поблагодарил: show_master
Вернуться к началу
 Профиль  
Ответить с цитатой  
 Заголовок сообщения: Re: Нужна схема октава 105
СообщениеДобавлено: 28 фев 2011, 11:24 
Новичок

Зарегистрирован:
28 фев 2011, 02:00
Сообщения: 3
Благодарил (а): 1 раз.
Поблагодарили: 0 раз.
Хорошо, KN67rx, раскручу ещё и верхнюю часть микрофона. Гляну для верного, что куда идёт.
Я просто думал, что вы по крупной фотографии сразу поймёте, где пвх, а где фторопласт ;-)

Спасибо за разъяснение об удлинении проводов. На сантиметра 4 я их всё-таки удлиню. Выхода нет.


Вернуться к началу
 Профиль  
Ответить с цитатой  
 Заголовок сообщения: Re: Нужна схема октава 105
СообщениеДобавлено: 28 фев 2011, 12:06 
Мастер
Аватара пользователя

Зарегистрирован:
24 фев 2009, 06:41
Сообщения: 120
Откуда: Кривой Рог, Украина
Благодарил (а): 20 раз.
Поблагодарили: 63 раз.
danila-master писал(а):
Хорошо, KN67rx, раскручу ещё и верхнюю часть микрофона. Гляну для верного, что куда идёт.
Я просто думал, что вы по крупной фотографии сразу поймёте, где пвх, а где фторопласт ;-)

Спасибо за разъяснение об удлинении проводов. На сантиметра 4 я их всё-таки удлиню. Выхода нет.


Можете не раскручивать...припалите паяльником изоляцию обоих проводов. Тот что ПВХ - плавиться, а фторопласт нет, по нему как по мылу ездит паяльник, но изоляцию не плавит.



За это сообщение автора KN67rx поблагодарил: show_master
Вернуться к началу
 Профиль  
Ответить с цитатой  
 Заголовок сообщения: Re: Нужна схема октава 105
СообщениеДобавлено: 28 фев 2011, 12:34 
Новичок

Зарегистрирован:
28 фев 2011, 02:00
Сообщения: 3
Благодарил (а): 1 раз.
Поблагодарили: 0 раз.
О, а вот это возьму на заметку ;-)
...думаю эту тему стоит пометить следующим образом: "FAQ для тех, кто попытался раскрутить Октаву и посмотреть, что внутри, и естественно, порвал провода... )))))))"


Вернуться к началу
 Профиль  
Ответить с цитатой  
 Заголовок сообщения: Re: Нужна схема октава 105
СообщениеДобавлено: 28 фев 2011, 15:02 
Мастер
Аватара пользователя

Зарегистрирован:
24 фев 2009, 06:41
Сообщения: 120
Откуда: Кривой Рог, Украина
Благодарил (а): 20 раз.
Поблагодарили: 63 раз.
KN67rx писал(а):

Можете не раскручивать...припалите паяльником изоляцию обоих проводов. Тот что ПВХ - плавиться, а фторопласт нет, по нему как по мылу ездит паяльник, но изоляцию не плавит.


Но это действительно если они разные, а то может с 2010 года стала Октава ставить оба провода в изоляции из фторопласта.Тогда нужно действительно раскручивать headbasket и смотреть куда там провода подходят.



За это сообщение автора KN67rx поблагодарил: show_master
Вернуться к началу
 Профиль  
Ответить с цитатой  
Показать сообщения за:  Поле сортировки  
Начать новую тему Ответить на тему  [ Сообщений: 16 ]  На страницу 1, 2  След.
   { SIMILAR_TOPICS }   Автор   Ответы   Просмотры   Последнее сообщение 
В этой теме нет новых непрочитанных сообщений. Схема подключения устройств: микрофон-предусилитель-звуковая карта?

в форуме Конденсаторные микрофоны

СаньГа_Red

13

32701

29 май 2010, 01:06

Ziatz Перейти к последнему сообщению

В этой теме нет новых непрочитанных сообщений. Мк-012 Схема электронная принципиальная.

в форуме Ваши предложения

Саня-Че

5

16918

05 апр 2015, 21:54

gogia Перейти к последнему сообщению

В этой теме нет новых непрочитанных сообщений. Схема электретного микрофона МКЭ-2

[ На страницу: 1, 2 ]

в форуме Конденсаторные микрофоны

Victor

19

41029

20 июн 2010, 01:50

phino Перейти к последнему сообщению

В этой теме нет новых непрочитанных сообщений. Принципиальная схема МК-319

в форуме Конденсаторные микрофоны

Батько

1

5903

27 янв 2009, 00:03

Notnap Перейти к последнему сообщению

В этой теме нет новых непрочитанных сообщений. МКЛ-4000 схема

[ На страницу: 1, 2, 3 ]

в форуме Ламповые микрофоны

mals

32

60570

07 дек 2010, 11:41

mals Перейти к последнему сообщению


Часовой пояс: UTC + 3 часа [ Летнее время ]


Кто сейчас на конференции

Зарегистрированные пользователи: Bing [Bot]


Вы не можете начинать темы
Вы не можете отвечать на сообщения
Вы не можете редактировать свои сообщения
Вы не можете удалять свои сообщения
Вы не можете добавлять вложения

Найти:
Перейти:  
 Rambler's Top100
Создано на основе phpBB® Forum Software © phpBB Group
Русская поддержка phpBB